EN
产业资讯 政策法规 研发追踪 医改专题
下一个国内大药机会
产业资讯 瞪羚社 2024-05-17 2137

肿瘤新药被市场浇注了太多的目光,以至于眼科创新药这个低调的“爆款收割机”并没有想象中那么过热。

眼药的大佬们或许可以说:“放量最快,又或是最具收购价值创新药,可不一定是肿瘤你这小子。”

2023年,眼科M&A热度持续在线,安斯泰来59亿美元收购美国IVERIC Bio、博士伦25亿美元收购诺华三款眼药资产、安进完成对Horizon的278亿美元收购等,无一不在昭示这个领域的巨大价值。

在创新药的放量速度上,国内外眼药“现象级”爆款产品频出,不输甚至超越绝大部分肿瘤药物。

全球范围内, 诺华的RDC药物Pluvicto以上市第二年无限逼近10亿美元傲视群雄,而罗氏的法瑞西单抗上市第二年便取得约合26亿美元销售。

回看国内,艾力斯伏美替尼第二年以7.9亿销售名声大噪,而今年兴齐眼药新获批的低浓度阿托品,据机构预计有望实现20亿销售。另一边是老药生命周期最后绽放的光华,临近2025年的专利期,康弘药业的康柏西普在2023年销售额突然飙升至近20亿,突破上市以来单年销售峰值。

眼科创新药的魅力,如此可见。

眼科新药为何如此凶猛?

眼科创新药关注度较低主要有两个核心原因,一是研发难度较大,解决问题并且安全性优异的创新药物较少(重磅炸弹并不像肿瘤自免那样倍出),一些疾病拥有极大未满足临床需求;另一个原因则是全球致盲性眼病首位是白内障,其患者人群广大(患者人数占60%),而该病为可逆性致盲眼病,且治疗手段以手术&器械方式为主,一定程度上转移了投资者的目光。

另一个例子则是全球第二大致盲性疾病青光眼领域,该病表现为眼压升高导致的不可逆损伤(视神经受损和视野缺损),目前尚未有治愈的治疗手段,只能通过控制眼内压延缓病情发展。目前青光眼的一线推荐药物为前列腺素类似物滴眼液,同时缺乏有效的创新药物,而前列腺素类药物以老药为主(价格较低),使得青光眼市场规模扩围受限。

而眼科创新药容易产生重磅炸弹的原因,恰恰有三个层面:1)部分眼病仍由其发展最终结果为失明,与肿瘤疾病一样治疗需求迫切;2)部分疾病无法治愈,需要长期用药维持,具备慢病性质;3)部分领域药物稀缺,新药价格昂贵;

全球第三大致盲眼病黄斑变性,则是孵化眼科治疗药物重磅炸弹的温床,符合上述三大条件。

黄斑变性(AMD)是一种年龄高度相关性疾病(老年人主要致盲原因,2020年全球患者高达1.9亿例),其发病为人视网膜中心的黄斑区域发生进展性病变,导致患者视物变形、中心视力下降甚至丧失,是一种不可逆的致盲性疾病,目前没有治愈方法。

AMD按病变形式可以分干性和湿性两大类,其中新发AMD病例均为干性AMD,但随着疾病进展,晚期干性AMD患者会出现干性地图样萎缩(GA),大约10%干性AMD患者患者会进展至湿性AMD(AMD严重视力损伤患者中80-90%来自于湿性AMD)。

目前并无延缓AMD进展的药物,眼内注射抗VEGF药物作为一线治疗方案,但只能稳定病程和一定程度提升患者视功能。

不过,现有VEGF眼药主要通过玻璃体腔注射,需要长期用药,维持期给药频次每4周一次到每16周一次,每年给药3-12次。

基于庞大的老年患者人群、较高的年治疗费用和高频的注射治疗,眼内注射抗VEGF药物诞生了众多的重磅炸弹,阿柏西普、雷珠单抗销售峰值分别达到96.47亿美元、43亿美元,并且随着诺华的布西珠单抗、罗氏的法瑞西单抗商业化,抗VEGF药物市场规模仍在持续增长。

(国内获批的4款抗VEGF药物  图源:动脉网)

AMD之外,屈光不正的改善型需求也铸就了另一个广阔治疗市场。

有数据统计,国内6-16岁近视人数超过7000万,目前市场认可的矫正方式有佩戴OK镜和低浓度阿托品。

据Eshare医械汇测算,2022年中国角膜塑形镜市场规模为39亿元,2023年预计市场规模为50亿元。

另外,低浓度阿托品制剂产品已在新加坡、日本、中国台湾等地区上市,年平均使用成本约3000-4000元,国内兴齐眼药的阿托品年费用约为3625元;若按照国内渗透率10%计算,轻松能够到百亿市场规模,兴齐眼药的产品目前作为唯一合规独家产品,商业化早期陡峭的放量曲线自然也不足为奇了。

那些现有药物未满足的临床需求

大量眼病存在极大未满足临床治疗需求,包括前述的干性AMD、青光眼、屈光不正中的老视等等。

即便是已经诞生诸多重磅炸弹的湿性AMD,其治疗药物也有极大的迭代需求。

其一,在于注射方式。

湿性AMD应用抗VEGF药物治疗需要采用玻璃体腔注射的方式将药物输送到眼底(从白眼球进针,将药物注射到眼球内),这种方式必须在医院完成,首次治疗需要连续几个月到院内注射,针对中老年患者而言依从性较差,长期难以坚持。

另外,玻璃体腔注射亦可能出现眼内出血,视网膜脱离,眼内感染,继发性青光眼,晶状体医源性损伤等副作用事件。

为了提升患者的依从性,目前相关在研厂商通过提升药物的半衰期、研发基因疗法来改变现有的治疗方式,如罗氏的法瑞西单抗相比雷珠单抗等4周一次的注射间隔,部分患者给药间隔可达到12周及以上,甚至50%患者给药间隔可以提升至16周,促使其快速放量及大卖。

其二,部分抗VEGF药物真实世界治疗效果与临床治疗结果存在不小的差异。

评判眼药的金标准是患者视力改善,而BCVA评分是最佳矫正视力患者视力参数,采用ETDRS视力表进行评估。

据华创新药研报数据显示,不同抗VEGF药物的多项研究表明,真实世界使用中患者1年的BCVA较基线变化却普遍在-1到3个字母之间,而临床试验BCVA较基线改善可以达到7-11个字母,展现了极大的差异。

当然,真实世界的结果差异也离不开诸多因素,其中最重要的是现有疗法的依从性和疗效局限性使得患者逐渐失去坚持的动力,最后直至注射频率降低甚至放弃治疗。

力图出圈玩家的国产争霸赛

在针对AMD这个充满市场潜力的大适应症,国内的药企利用不同的思路在迭代已有的治疗产品,旨在抢夺阿柏西普、康柏西普专利到期后的AMD创新药市场份额。

信达生物无疑是国内眼科抗体药物布局最多的药企之一,包括两项临床一期的双抗资产IBI-324(VGEF/ANG-2)和IBI-333(VGEF-A/VGEF-C),一项临床三期的IBI-302(VEGF/补体)。

IBI302在2024年3月最新公布的2项二期对照阿柏西普非劣性临床数据显示,IBI302可在长间隔给药(3个月及以上)下给新生血管性年龄相关性黄斑变性患者(nAMD)带来稳定的视力获益和解剖学疗效改善,并观察到对黄斑萎缩的潜在改善作用。

而IBI-324和IBI-333,一个是罗氏法瑞西单抗的Fast follow或Me better,一个是全球首创的VGEF-A/VGEF-C双抗,同样在nAMD具备较大治疗潜力。

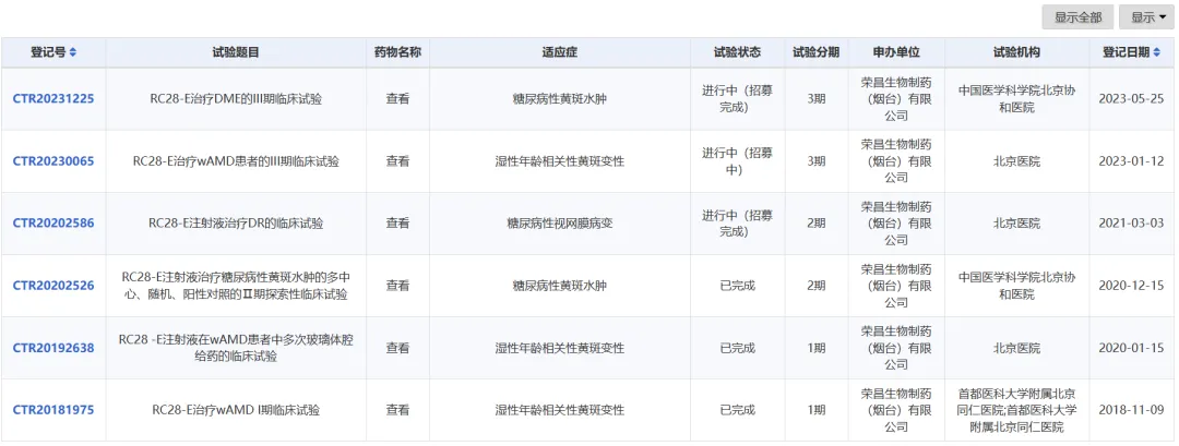
荣昌生物亦是国内眼科生物药的第一梯队竞争者,其双靶标融合蛋白RC28-E也已经进入临床三期,正在推进糖尿病性黄斑水肿、湿性年龄相关性黄斑变性两大适应症。

RC28是全球首创VEGF/FGF双靶标融合蛋白药物,其目前临床方案的给药方式为:前三次每月一次&后每8-12周一次,已公布的1b期数据显示:药物安全耐受,对此前接受抗VEGF治疗和PCV(眼底息肉状脉络膜血管病变)患者均有效。

老牌眼科药企康弘药业,想用更前沿的疗法来达到对现有治疗市场的降维打击,KH631是新一代眼科基因治疗产品(也是国内首个AAV眼科基因疗法),公司已经开展了5项以上的临床申报。

AAV(腺病毒)是最主要的眼科基因疗法递送载体,尤其是AMD涉及许多补体替代途径的相关基因,这也成为基因疗法研发的热门疾病领域及靶点。

贝达药业的解决思路与上述三家企业截然不同,公司与EyePoint合作,利用其专有的可生物降解的缓释技术Durasert E与自主研发的伏罗尼布结合形成EYP-1901玻璃体内植入剂,这伏罗尼布以可控且可耐受的方式持续地在眼部释放,达到提升药物半衰期的目的,从而通过提升用药间隔来提升患者的依从性。

EYP-1901的二期数据显示,与对照组(阿柏西普)相比,最佳矫正视力(BCVA)的统计学变化不逊色且安全性良好,同时近三分之二的人在六个月内不使用眼部补充剂,超过80%的患者在长达6个月的时间里没有补充或仅接受了一次补充性抗VEGF注射。

结语:投资者应积极关注眼科创新药的进展,过去的康弘药业和现在兴齐眼药的股价表现都证明了其中磅礴的投资机会,AMD的国内药物迭代齿轮滚动或许就是下一个机会窗口。

您可能感兴趣
中国区收入增长30%,CLDN18.2单抗增长超400%
中国区收入增长30%,CLDN18.2单抗增长超400%
产业资讯 医药魔方Info 2026-05-04 90
23亿美元!礼来收购Ajax Therapeutics
23亿美元!礼来收购Ajax Therapeutics
产业资讯 Medaverse 2026-05-04 87