EN
产业资讯 政策法规 研发追踪 医改专题
超6亿美元!BMS再次引进Prothena神经退行性疾病项目
产业资讯 凯莱英药闻 2024-06-03 2294

5月28日,Prothena Corporation宣布,百时美施贵宝(BMS)获得了该公司PRX019的独家全球许可。根据协议,BMS将向Prothena支付8000万美元预付款,Prothena还将有资格获得高达6.175亿美元的额外开发、监管和销售里程碑付款,以及净销售额的分层版税。

PRX019是一种潜在的神经退行性疾病治疗药物,其靶点未公开。美国食品和药物管理局(FDA)于2023年12月批准了PRX019的研究性新药(IND)申请, Prothena计划在2024年底前启动PRX019的1期临床试验。这已经是Prothena与BMS的第二次合作。2021年6月,BMS获得具有BIC潜力的靶向tau蛋白的抗体候选药物PRX005在美国的独家许可,并于今年年初开启了二期临床试验。

在神经科学领域,BMS去年以一项140亿美元对Karuna的收购宣告了CNS进军的野心。而对于此次与Prothena 的合作,百时美施贵宝高级副总裁兼神经科学专题研究中心负责人Richard Hargreaves 表示:“我们致力于解决一些最紧迫的未满足医疗需求领域的问题。通过与Prothena公司的合作,我们发现并推进了PRX019,将其作为神经退行性疾病患者的一种潜在疾病调节治疗选择。”

Prothena:专注CNS领域,相继与罗氏、BMS、诺和诺德达成合作

Prothena是一家处于临床后期公司,在蛋白质失调方面拥有专业知识,为罕见的外周淀粉样蛋白和神经退行性疾病提供多样化的新型研究疗法。Prothena创始人兼CEO Gene G. Kinney博士,在加入Prothena之前,他曾在Elan Pharmaceuticals Inc.,Janssen,Merck,Bristol-Myers Squibb工作,并且是埃默里大学医学院的助理教授。

Prothena领导团队(来源:公司官网)

公司的研发活动始于1986年成立的Athena Neurosciences。Athena Neurosciences公司在淀粉样蛋白、γ 分泌酶和β 分泌酶在疾病中作用的基础性发现,推动了阿尔茨海默病生物学的发展。Athena 于 1996 年被 Elan Corporation, plc 收购,其发现和开发活动并入 Elan公司。Prothena 于2012 年 12 月从 Elan Corporation, plc 分离出来,其药物研发平台的大部分业务也随之分离。如今,Prothena 正在利用其在蛋白质失调领域的传统和深厚的专业知识,建立一个可为患者提供创新疗法管线,主要聚焦在CNS领域的药物开发,包括阿尔兹海默病(AD),帕金森(PD),ATTR淀粉样变性病等神经退行性疾病和淀粉样变性疾病。

Prothena管线(来源:公司官网)

Prothena 和包括BMS、罗氏、诺和诺德等MNC进行药物开发合作,涉及多种创新疗法。

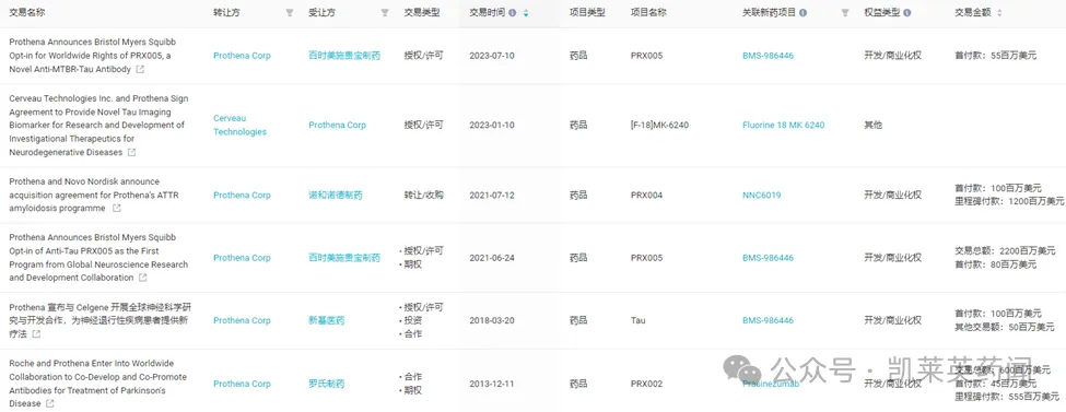
Prothena交易事件统计(来源:insight数据库)

PRX005(BMS-986446)

引进方:BMS

PRX005是一款潜在“best-in-class”抗Tau蛋白抗体,它与Tau蛋白的微管结合域(MTBR)相结合,是一款治疗阿尔茨海默病(AD)的潜在疗法。以往的临床前研究显示,致病Tau蛋白能够在神经细胞之间传播,PRX005通过与Tau蛋白的微管结合域相结合,旨在阻断致病Tau蛋白被细胞摄入,从而降低下游细胞毒性。

2021年6月,BMS与Prothena达成战略合作协议,向Prothena支付8000万美元,获得PRX005在美国的独家许可。

2023年1月31日,Prothena公布了其在研Tau蛋白抗体疗法PRX005在健康受试者中的1期单剂量递增研究结果。此次公布的数据显示,健康受试者血浆中的PRX005浓度与剂量成正比,并具有强大的中枢神经系统(CNS)渗透性。三个剂量队列中,PRX005的安全性和耐受性良好,达到了试验的主要终点。在健康受试者和AD患者中进行的1期多剂量递增试验正在进行中。今年年初,BMS在clinical trails网站上,登记了一款创新Tau抗体药物BMS-986446,在早期阿尔兹海默症中进行与安慰剂对比的二期临床试验。该临床预计将从2024年2月开始,计划入组人数475人。

Prasinezumab(PRX002)

引进方:罗氏

Prasinezumab(PRX002)是一种靶向α-突触核蛋白(α-Syn)的人源化IgG 1 单克隆抗体,旨在靶向聚集形式的 α-Syn的 C 端,从而清除聚集的α-Syn,并有助于减少新聚集体的形成,防止从一个神经元传递到下一个神经元,并减缓或减少神经退行性病变。

临床前研究使用了多种体内和体外α-突触核蛋白病模型,证明该产品的鼠同源物(9E4)能够阻断α-Syn的细胞间传递,减少细胞内α-Syn病理形成,防止突触丢失和神经胶质增生,并改善认知和运动行为缺陷。2013年12月,Roche与Prothena基于Prasinezumab达成了总金额高达6亿美元的合作开发协议,在2021年的时候,Prothena收到了罗氏支付的6000万美元临床里程碑付款。2024年4月15日,罗氏公司的研究人员在 Nature Medicine 期刊发表了题为:Prasinezumab slows motor progression inrapidly progressing early-stage Parkinson’sdisease 的研究论文,探讨了Prasinezumab这种单克隆抗体在早期帕金森病中的潜在的治疗作用,尤其是在PASADENA第二阶段临床试验中对于快速进展的病例显示出对运动症状进展有一定的减缓效果

在PASADENA试验中,尽管未能达到主要终点——运动障碍社会统一帕金森病评分量表(Movement Disorder Society Unified Parkinson’s Disease Rating Scale, MDS-UPDRS)总分的变化,但在处理运动迹象的第三部分评分中,使用Prasinezumab的个体表现出比安慰剂组更缓慢的进展。该研究还特别关注了快速进展的亚组,探讨Prasinezumab在这些特定群体中的潜在益处。结果显示,在接受单胺氧化酶B抑制剂(monoamine oxidase B inhibitors, MAO-B)的基线亚群中,Prasinezumab对抑制症状恶化的效果更为明显。这种效果的差异性可能与α-突触核蛋白聚集的速度和程度有关,暗示在快速进展的PD亚型中,干预聚集的α-突触核蛋白可能更有效。

PRX004(NNC6019)

引进方:诺和诺德

NNC6019是一种研究性人源化单克隆抗体,通过消除与遗传性和野生型ATTR淀粉样变性(hATTR和wtATTR)疾病病理相关的淀粉样蛋白,而不影响蛋白质的天然、正常四聚体形式。NNC6019的作用机制可能是消耗沉积的淀粉样蛋白,以改善器官功能和循环非天然四聚体形式(TTR),以防止进一步的器官沉积。临床前研究显示,PRX004显示出抑制淀粉样纤维形成,结合非天然TTR的可溶性聚集体形式,以及通过抗体介导的吞噬作用,促进不溶性淀粉样纤维清除的能力。

在诺和诺德收购该项目前,Prothena 已在遗传性 ATTR 患者中完成了一项 1 期研究,证明NNC6019是安全且耐受性良好的。2021年7月12日,诺和诺德和Prothena宣布两家企业达成收购协议。据协议,诺和诺德将收购Prothena处于临床阶段的在研抗体PRX004和转甲状腺素蛋白淀粉样变性(ATTR)研发项目。而Prothena将获得总计最高达12亿美元的开发和销售里程碑付款,其中包括1亿美元的前期和近期临床里程碑付款。2022年11月21日,Prothena宣布,公司已从诺和诺德获得4000万美元的里程碑付款,与PRX004在治疗转甲状腺素蛋白淀粉样变性(ATTR)心肌病的临床2期研究中的持续进展有关。目前诺和诺德正在进行临床2期研究,顶线数据预计在2024年公布。

BMS开始发力CNS新增长点

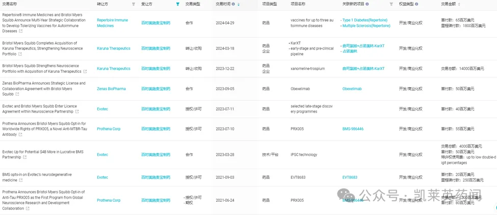
相对而言,BMS在神经领域的布局处于早期阶段。从其财报中公布的17款在售药品对应的适应症来看,并无相应产品。不过BMS研发的新一代JAK抑制剂自免药品Sotyktu,其靶点TYK2已开始被用于神经领域。BMS尝试通过引进项目在CNS领域挖掘新增长点。尤其是近三年,BMS作为受让方完成了近10次交易,引进了十余款项目。

BMS近三年在CNS领域的交易(来源:insight数据库)

对Karuna的收购也成为了BMS近年来金额最大的一笔收购。2023年12月,BMS宣布将以总价140亿美元的现金收购神经科学领域公司Karuna,获得一款核心产品毒蕈碱类抗精神病药物KarXT,用于治疗成人精神分裂症。值得注意的是,去年11月底,FDA 受理了 Karuna 治疗精神分裂症的新药申请,该申请的处方药用户付费方案(PDUFA)目标行动日期为2024年9月26日。根据公告,KarXT 预计将于2024 年底在美国上市。与现有的精神分裂症疗法不同,KarXT 并不会直接阻断多巴胺受体,而是同时激活中枢神经系统中的 M1 和 M4 毒蕈碱乙酰胆碱受体。这种作用机制有助于改善精神分裂症的阳性和阴性症状,并提高患者的认知能力。Karuna 公司创始人兼首席运营官Andrew Miller曾表示,若顺利获批,KarXT 将成为五十多年来第一种新型精神分裂症治疗药物。据悉,除精神分裂症外,Karuna还在开发 KarXT 治疗阿尔茨海默病精神病,目前正在进行注册临床试验,预计将于 2026 年得出结果。另一项值得关注的交易是与德国公司 Evotec 的战略合作。2023年3月BMS宣布将与德国公司 Evotec 的战略合作再延长八年,根据扩展协议的条款,BMS 将向 Evotec 支付5000 万美元的预付款,并将承诺未公开数额的里程碑付款,以及高达产品销售额低两位数百分比的分级特许权使用费,扩大后的交易潜在价值为 40 亿美元

Evotec专有的iPSC药物筛选平台的研究和开发已有十余年之久,可作为强大的人类转化模型。该平台利用患者来源的细胞进行药物筛选,用于识别靶点和潜在的治疗化合物。

早在2016年,Evotec首次与新基Celgene(2019年BMS收购了Celgene),就iPSC药物发现平台签署了合作伙伴关系,以开发肌萎缩侧索硬化症,帕金森病和阿尔茨海默病等疾病的治疗手段。目前,两家公司已经基于iPSC筛选开发了小分子化合物EVT8683,EVT8683靶向一种重要的细胞应激反应途径,可能对多种不同的神经退行性疾病产生治疗作用。

聚焦在神经退行性疾病领域,根据cortellis数据库,BMS目前共有6款产品在研,均为通过合作/引进开发的项目,其中进展最快的为和Prothena Corp plc合作的BMS-986446(PRX005处于临床2期;其次是与Evotec基于iPSC筛选开发的小分子化合物EVT8683,处于临床1期。

BMS神经退行性疾病管线(来源:cortellis)


原文链接:https://s201.q4cdn.com/351053094/files/doc_news/Prothena-Announces-Bristol-Myers-Squibb-Opt-in-for-Exclusive-Global-License-for-PRX019-the-Second-Program-from-Global-Neuroscience-Re-D6H6G.pdf


您可能感兴趣
中国区收入增长30%,CLDN18.2单抗增长超400%
中国区收入增长30%,CLDN18.2单抗增长超400%
产业资讯 医药魔方Info 2026-05-04 76
23亿美元!礼来收购Ajax Therapeutics
23亿美元!礼来收购Ajax Therapeutics
产业资讯 Medaverse 2026-05-04 74