产业资讯
米内网
2025-06-12
2263
精彩内容
近日,中美华东提交了雷珠单抗注射液的上市申请,将参与争夺16亿大品种国产第二家。2024年中美华东实现销售收入超过了138亿元,再创历史新高。在中国三大终端六大市场,中美华东销售额过亿的产品升至15个,并成为4个百亿市场国内龙头企业,公司的竞争力正在不断提升。2020年以来公司全面推进创新转型,2个化药1类新药和4个生物药3.3类新药正在冲刺上市,10款新药(化+生)正在开展临床,后续可期。
稳坐四大百亿市场国内龙头,15个重磅产品卖过亿
华东医药自2020年全面创新转型,作为集团医药工业板块的核心子公司,中美华东近几年整体经营持续向好。公司曾在2021年因集采及谈判降价影响,营收出现了负增长,随后在2022年扭转劣势,2023-2024年持续高速增长,2024年实现销售收入(含CSO业务)138.11亿元,同比增长13.05%,金额与增速均为近五年最高值。
图1:中美华东近五年的营收情况(单位:亿元)

来源:公司年报
年报中提到,近几年中美华东的核心产品市场销量继续保持稳定增长,占有率也在稳步提升。据米内网统计,截至目前中美华东获批的产品(化+生+中)超过了50个,2024年在中国三大终端六大市场销售额过亿的产品升至15个,此外,公司还成为了4个百亿市场国内龙头企业,成绩亮眼。
表1:2024年中美华东部分销售额过亿的产品

来源:米内网格局数据库
图2:中美华东连续三年正增长的潜力产品

来源:米内网格局数据库
15个过亿产品中二甲双胍恩格列净片(Ⅰ)、吗替麦考酚酯胶囊、利拉鲁肽注射液在2022-2024年一路飙涨,已成为中美华东的潜力产品。
公司的二甲双胍恩格列净片(Ⅰ)在2021年6月获批,是中美华东第三款复方降糖药,该产品2023年在中国三大终端六大市场的销售额突破2亿元,2024年涨至3.4亿元。截至目前,中美华东的复方降糖药累计有5款。
中美华东的吗替麦考酚酯胶囊在第七批国采(2022年7月)中顺利中标,随着国采落地执行,该产品的销售额快速飙涨,2023年在中国三大终端六大市场的销售额突破1.6亿元,2024年涨至1.8亿元。
2023年获批的利拉鲁肽注射液是中美华东首款生物药,公司也是国内首个获批双适应症(糖尿病和减重)的企业。针对该产品,公司积极发挥先发和市场渠道优势,2024年公司的利拉鲁肽注射液在中国三大终端六大市场的销售额突破1亿元。此外,公司在生物药市场不断加码,2024年拿下了乌司奴单抗注射液的国产首家,据悉该产品已有超过800家医院开具处方,公司预计2025年的销售额有望超过3亿元。
图3:2024年中美华东的亚类情况

来源:米内网格局数据库
2024年免疫抑制剂(化+生)的市场规模超过330亿元,中美华东蝉联TOP2企业,排在跨国药企诺华之后,稳坐该类药物市场国内龙头企业宝座。公司在该类药物市场有超20亿产品他克莫司胶囊,其他过亿产品包括了环孢素软胶囊、吗替麦考酚酯分散片、吗替麦考酚酯片、吗替麦考酚酯胶囊。
2024年中成药壮腰健肾药的市场规模超过260亿元,中美华东2019-2024年一直稳坐TOP1企业宝座,2024年销售额超过25亿元。
2024年糖尿病用药(化+生)的市场规模超过650亿元,中美华东排在诺和诺德、阿斯利康、默沙东、赛诺菲、默克等跨国药企之后,是该类药物市场国内龙头企业。公司在该类药物市场有超10亿产品吡格列酮二甲双胍片(15mg/500mg),其他过亿产品包括了阿卡波糖片、二甲双胍恩格列净片(Ⅰ)、利拉鲁肽注射液。
2024年抗血栓形成药(化+生)的市场规模超过350亿元,中美华东在2024年升上TOP4企业,排在拜耳、赛诺菲、勃林格殷格翰之后,是该类药物市场国内龙头企业,销售额超过16亿元。
创新转型渐入佳境,6款新药上市可期
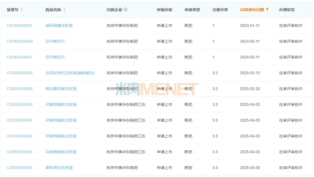
创新已成为国内药企突围的核心竞争力,2024年中美华东提交了化药1类新药瑞玛吡嗪注射液和迈华替尼片的上市申请,2025年公司在生物药领域再报产了乌司奴单抗注射液(静脉输注)、德谷胰岛素注射液、司美格鲁肽注射液和雷珠单抗注射液。
图4:中美华东报产在审的新药

来源:米内网中国申报进度(MED)数据库
1类新药迈华替尼片备受市场瞩目,该新药用于EGFR 21号外显子L858R置换突变的局部晚期或转移性非小细胞肺癌(NSCLC)患者的一线治疗的上市申请于2024年5月获得受理,有望在今年迎来好消息。2024年在中国三大终端六大市场,抗肿瘤药(化+生)的市场规模已涨至1500亿元,市场空间巨大。
德谷胰岛素注射液是中美华东首款申报上市的胰岛素制剂,将助力公司进攻180亿胰岛素及其类似药市场。
司美格鲁肽(Ozempic+Rybelsus+Wegovy)2024年全球销售额合计达2018亿丹麦克朗(按即时汇率约308亿美元),目前国内市场上仅有原研的司美格鲁肽注射液和司美格鲁肽片获批进口。
2025年5月30日,中美华东提交了雷珠单抗注射液的3.3类新药上市申请,将争夺该产品国产第二家获批。雷珠单抗注射液2024年在中国三大终端六大市场的销售额超过16亿元,目前中美华东在眼科用药市场暂无产品获批,雷珠单抗注射液将助力公司打开新市场。
表2:中美华东部分进展较快的新药

来源:米内网中国临床试验数据库
目前中美华东进展较快的新药集中在化药和生物药领域:HDM1002片用于超重或肥胖人群的体重管理的III期临床在2025年4月启动;HDM1005注射液用于超重或肥胖人群的体重管理的II期临床和2型糖尿病II期临床分别在2025年1月、3月启动;HDM7005用于动脉硬化引起的缺血性心血管病变、缺血性脑血管病变、静脉血栓形成,以及血液透析时预防血栓形成的I期临床也在2025年一季度启动了;HDM3019在2025年5月启动用于类风湿关节炎的Ib/II期临床。
5月31日,中美华东的化药2.4类新药CMCY2501片拿下了临床批件,用于冠心病患者PCI术后的动脉粥样硬化血栓形成事件的二级预防,与P2Y12受体抑制剂合用……中美华东的新药管线不断扩大,创新转型进入新阶段。
6个高端仿制药加速冲刺,200亿市场迎新突破
今年2月,中美华东的吗替麦考酚酯干混悬剂3类仿制上市申请获批,拿下首家过评。吗替麦考酚酯是免疫抑制剂TOP3品种,2024年在中国三大终端六大市场的销售额超过26亿元,中美华东是该品种的国内龙头,排在罗氏之后,市场份额超过31%。早前,公司已拥有吗替麦考酚酯分散片、吗替麦考酚酯胶囊和吗替麦考酚酯片,吗替麦考酚酯干混悬剂获批后将进一步提升公司的市场竞争力。
图5:中美华东报产在审的仿制药

来源:米内网中国申报进度(MED)数据库
截至目前,中美华东有6款高端仿制药报产在审,公司将参与西罗莫司片和注射用卡非佐米的国内首仿争夺,此外,二十碳五烯酸乙酯软胶囊有望为公司开拓新市场。
2024年在中国三大终端六大市场血脂调节剂的市场规模涨至247亿元,二十碳五烯酸乙酯软胶囊是血脂调节剂市场潜力产品,2023年首次在国内面世,2024年在中国三大终端六大市场的销售额增长了1409%。目前中美华东在血脂调节剂市场暂无产品上市,二十碳五烯酸乙酯软胶囊或将成为公司在该类药物市场首款获批的产品。
资料来源:米内网数据库、公司年报
产业资讯
研发客
2026-04-03
756
产业资讯
药视声Medispace
2026-04-16
44
产业资讯
药时空
2026-04-16
45