产业资讯
摩熵医药
2025-07-25
740
7月23日,CDE官网显示,浙江兄弟制药与南京海纳制药联合申报的4类化学仿制药甲磺酸沙非胺片的上市申请已获受理。该品种目前国内暂无仿制药企获批上市,已有16家企业加入首仿竞逐,竞争态势尤为激烈。

截图来源:CDE官网
甲磺酸沙非胺片作为新一代选择性单胺氧化酶B(MAO-B)靶向抑制剂,适用于原发性帕金森病伴症状波动(包括剂末恶化和开-关现象)成人患者的联合治疗(与左旋多巴合用,或与左旋多巴及其他帕金森病药物合用)。

截图来源:摩熵医药全球药物研发数据库
帕金森病(PD)是一种进展缓慢的神经系统退行性疾病,具有高致残率、高治疗费用等特征。据摩熵医药数据库显示,截至2021年我国PD患者人数为507.71万,预计随着人口老龄化的加剧,我国可能成为全球PD患者人口最多的国家。

截图来源:摩熵医药流行病学数据库
根据百谏方略(DIResaerch)研究,全球帕金森病药物市场规模呈现稳步扩张的态势,2023年全球帕金森病药物市场销售额为382亿元,预计2030年将达到612.4亿元,2023-2030期间年复合增长率(CAGR)为6.97%。
摩熵医药数据统计,2023年中国抗帕金森病化药市场近40亿元,其中医院端市场是主力销售渠道,占据28.51亿元,零售端为9.52亿元。
2019-2023年全国院内帕金森药物市场规模

截图来源:摩熵医药全国医院销售(全终端)数据库
2019-2023年全国零售帕金森药物市场规模

截图来源:摩熵医药全国药店零售数据库
甲磺酸沙非胺具有双重机制,一是强效抑制 MAO-B,减少多巴胺代谢以提高其脑内水平;二是抑制谷氨酸过量释放,通过阻断钠通道、抑制钙通道开放减轻神经元过度兴奋。其长期疗效显著且具神经保护作用,可为 PD 患者带来全面治疗获益。
甲磺酸沙非胺由意大利赞邦(Zambon)集团和Newron制药公司合作研发,于2015年2月率先在欧盟获批上市,2017年3月获美国FDA突破性疗法认定,商品名“Xadago”。 2024年12月,获NMPA批准于国内上市,当前为原研独家。

截图来源:摩熵医药中国药品批文数据库
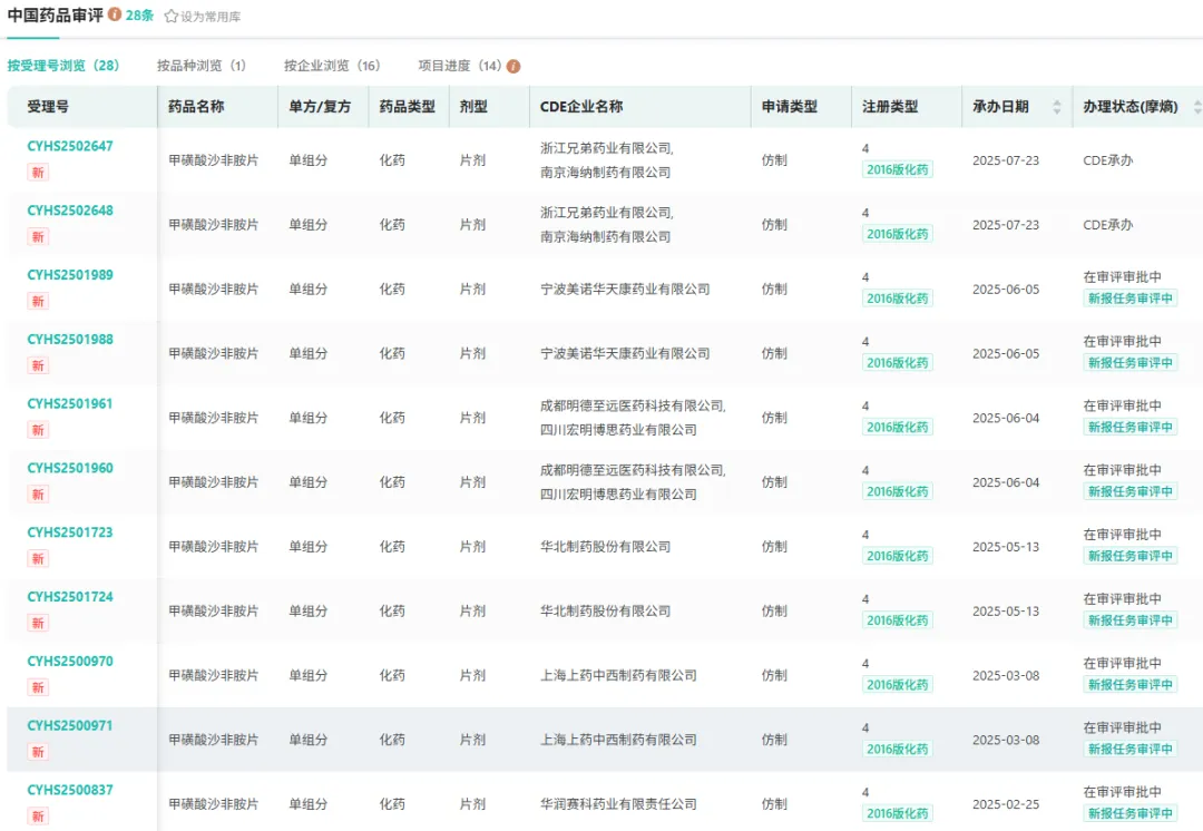
国内已有齐鲁制药、南京正大天晴、石家庄四药、四川科伦药业、康恩贝制药、华北制药等16家药企积极布局,提交了甲磺酸沙非胺片上市申请,均获受理。首仿争夺战的大幕已然拉开。

截图来源:摩熵医药中国药品审评数据库
小结
甲磺酸沙非胺片,在提升帕金森病治疗效果的同时,更以显著的长期疗效和神经保护作用,为患者带来全面治疗获益。该品种的首仿争夺战已正式打响,随着更多企业的加速布局,这一兼具治疗优势与商业前景的 “抗帕” 药物,或将在满足患者需求的同时,推动帕金森病治疗领域的竞争与发展,为行业注入新的活力,其后续市场表现值得期待。
产业资讯
研发客
2026-04-03
579
产业资讯
Briinsight
2026-04-13
92
产业资讯
Medaverse
2026-04-13
90