产业资讯
米内网
2025-07-30
1312
精彩内容
近期,糖尿病用药市场波澜再起。河南立诺制药|天津汉瑞药业的达格列净二甲双胍缓释片(Ⅰ)、达格列净二甲双胍缓释片(Ⅱ)、达格列净二甲双胍缓释片(Ⅲ)同日报产获CDE受理,诺和诺德的司美格鲁肽注射液新适应症获批。米内网数据显示,糖尿病用药(化+生)在2025年一季度中国零售药店终端销售额同比增长近9.00%。从品牌TOP20来看,“药王”跌超10%,扬子江药业、甘李药业等国产品牌突围。今年以来,糖尿病用药已有超过40个品种报产在审,其中,6个品种为新药,涉及东阳光药、华东医药、恒瑞医药等企业。
重磅新品获批不断,奥萨、鲁南贝特发起冲击
日前,诺和诺德的司美格鲁肽注射液新适应症获批,福安药业烟台只楚药业的硫辛酸片、湖南及正医药科技的二甲双胍恩格列净片(Ⅰ)、深圳奥萨制药的恩格列净片、鲁南贝特制药的利格列汀片等均以新分类报产先后获批上市。
今年以来糖尿病用药(化+生)新药获批情况

来源:米内网中国申报进度(MED)数据库
今年以来,糖尿病用药(化+生)已有超过90个受理号获批上市,涉及品种超过30个。其中,信达生物制药(苏州)的玛仕度肽注射液、山东盛迪医药的瑞格列汀二甲双胍片(Ⅰ)和瑞格列汀二甲双胍片(Ⅱ)、上海银诺医药的依苏帕格鲁肽α注射液、石药欧意药业的普卢格列汀片为1类新药。
糖尿病“药王”跌超10%,扬子江、甘李……国产品牌突围
米内网数据显示,糖尿病用药(化+生)在近年中国零售药店(城市实体药店+网上药店)终端市场规模持续扩容,2024年销售额突破130亿元,2025年一季度同比增长近9%。其中,城市实体药店是主力销售渠道,网上药店则保持快速增长。
从一级集团TOP20来看,跨国药企占据前列位置,诺和诺德、阿斯利康、默克、默沙东、礼来排前五位。值得一提的是,国内药企仅远大健康和扬子江药业在前十之列,而甘李药业、华领医药、正大制药等均有双位数增速。
2025年一季度中国零售药店终端糖尿病用药(化+生)小类格局

来源:米内网格局数据库
GLP-1受体激动剂、胰岛素及其类似药、SGLT2抑制剂是TOP3治疗小类,口服降糖药复方增速最快,同比增长超过35%。从剂型来看,片剂一枝独秀,注射剂位居第二,合计市场份额占比超过90%。从在销品种数量来看,涉及产品超过140个,超过600个品牌。
2025年一季度中国零售药店终端糖尿病用药(化+生)品牌TOP20

来源:米内网格局数据库
注:增长率不足10%用*表示
品牌TOP20中,4个销售额超过1亿元,诺和诺德的司美格鲁肽注射液和阿斯利康的达格列净片超过4亿元,默克的盐酸二甲双胍片超过2亿元,默沙东的磷酸西格列汀片超过1亿元。
从增速来看,礼来的替尔泊肽注射液暴涨1036.37%,诺和诺德的德谷胰岛素注射液和德谷胰岛素利拉鲁肽注射液增速均超过50%。4个上榜的国产品牌均为正增长,甘李药业的甘精胰岛素注射液增速最快,达28.97%;华领医药(上海)的多格列艾汀片和杭州中美华东制药的吡格列酮二甲双胍片(15mg/500mg)增速均超过10%。此外,诺和诺德的司美格鲁肽注射液则是TOP20中跌幅最大的品牌。
从集团层面来看,诺和诺德最多,有司美格鲁肽注射液、门冬胰岛素30注射液、德谷门冬双胰岛素注射液等7个品种上榜;默沙东和赛诺菲各有2个品种上榜。
近年中国零售药店终端司美格鲁肽注射液销售情况(单位:万元)

来源:米内网格局数据库
司美格鲁肽注射液是诺和诺德研发的一款新型长效胰高糖素样肽-1(GLP-1)类似物,2021年中国获批进口上市。该产品在2024年中国零售药店终端突破20亿元的销售规模,2025年一季度下滑超过10%,是糖尿病用药(化+生)TOP1产品。目前,司美格鲁肽注射液仅有诺和诺德拥有生产批文,多家国内药企则纷纷出手布局。杭州九源基因、丽珠集团新北江制药、齐鲁制药、珠海联邦生物医药等国内药企报产在审,海南中和药业、山东新时代药业、浙江普洛康裕制药等超过20家企业获批临床。
新药大爆发,东阳光药、华东、恒瑞火热来袭

7月28日,CDE官网显示,河南立诺制药|天津汉瑞药业的达格列净二甲双胍缓释片(Ⅰ)、达格列净二甲双胍缓释片(Ⅱ)、达格列净二甲双胍缓释片(Ⅲ)同日报产获受理。在此之前,河北智恒医药科技的达格列净二甲双胍缓释片(Ⅰ)、河南大新药业的吡格列酮二甲双胍片、天津力生制药的达格列净片、湖南千金湘江药业的达格列净二甲双胍缓释片(Ⅰ)和达格列净二甲双胍缓释片(Ⅲ)等产品先后提交上市申请。
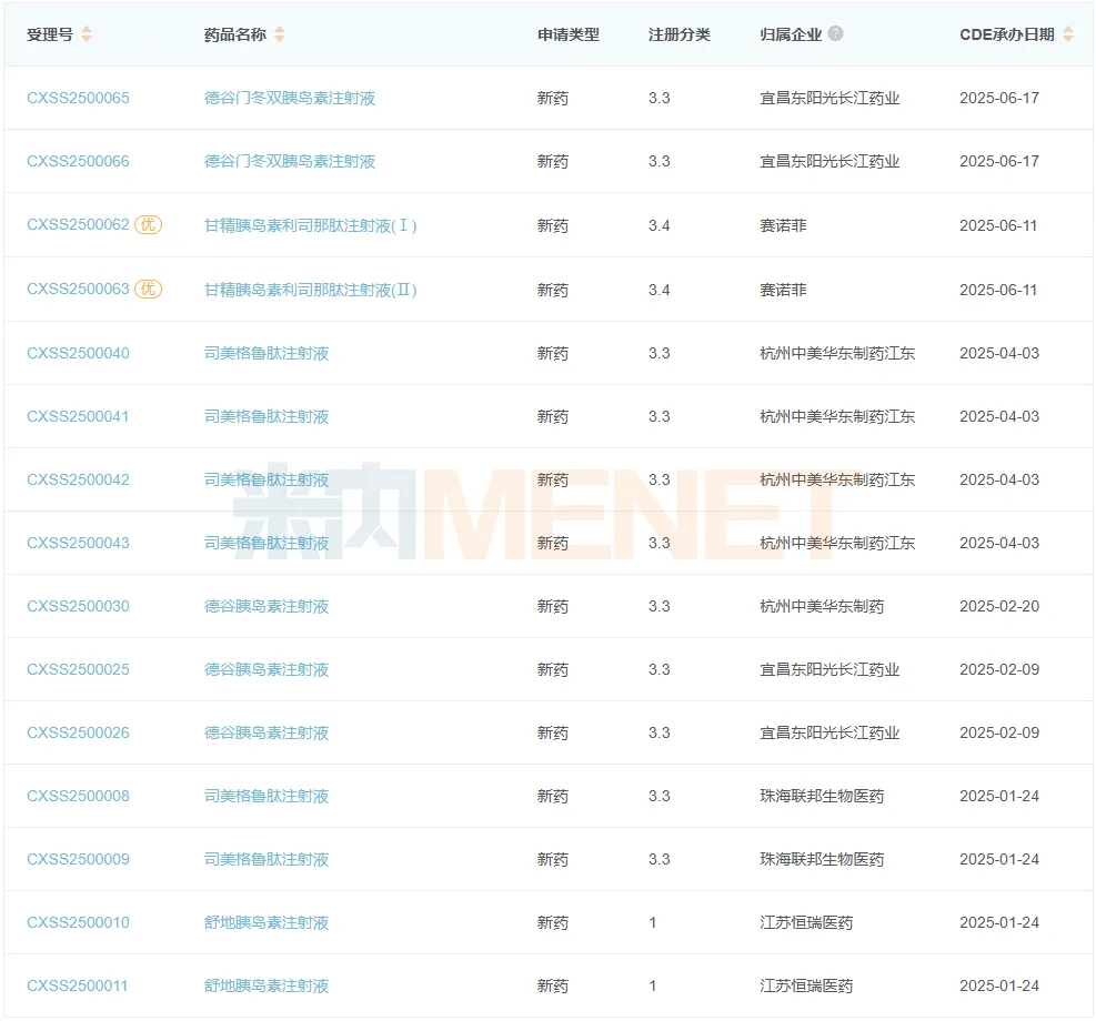
今年以来糖尿病用药(化+生)新药报产在审情况

来源:米内网中国申报进度(MED)数据库
今年以来,糖尿病用药(化+生)已有超过160个受理号报产在审,涉及品种超过40个,其中,6个品种为新药,东阳光药(德谷门冬双胰岛素注射液、德谷胰岛素注射液)和华东医药(司美格鲁肽注射液、德谷胰岛素注射液)各有2个产品报产在审,舒地胰岛素注射液则是恒瑞医药首个胰岛素制剂。
2022年至今,糖尿病用药(化+生)新药共有16个品种报产在审。
产业资讯
研发客
2026-04-03
579
产业资讯
Briinsight
2026-04-13
92
产业资讯
Medaverse
2026-04-13
90