产业资讯
药智网
2025-08-14
1522
研发漫长,但市场却是快速变化的。
2025Q2全球畅销药榜单再生巨变:礼来的替尔泊肽(Mounjaro/Zepbound)凭借爆发式增长,追平诺和诺德的司美格鲁肽系列,有望在今年登顶销售额榜首。自免领域药物展现强劲增长潜力,Skyrizi替艾伯维夺回“自免药王”宝座。肿瘤领域,PD-1单抗稳中有进。
表1 2025Q2畅销药TOP10

数据来源:公开资料、药智数据
注:1.司美格鲁肽销售额根据今年平均汇率计算:1丹币=0.14796美元
2.由于勃林格殷格翰未公布Jardiance(恩格列净)单季销售额,故未纳入统计。
01
GLP-1霸榜前二,礼来成最大赢家
“药王”之争从未如此激烈。
2021年,辉瑞的COVID-19疫苗Comirnaty终结了修美乐长达九年的“药王”蝉联,一举拿下全球药品销售额榜首。2023年,默沙东的PD-1单抗Keytruda成功登顶药王之位。而今年,此前业内普遍预期诺和诺德的司美格鲁肽将问鼎,然而二季度风云突变:礼来的替尔泊肽(Mounjaro/Zepbound)凭借惊人的环比增速,季度销售额追平司美格鲁肽系列,按此强劲势头,替尔泊肽极有可能卫冕2025年度“药王”桂冠。
司美格鲁肽(Semaglutide)是诺和诺德开发的一款靶向GLP-1受体的多肽药物。它模拟了在进食后释放到胃肠道中的GLP-1激素,促使身体产生更多胰岛素,从而降低血糖含量。较高水平的GLP-1还与大脑中减少食欲和传递饱腹感的部分相互作用。
药智数据显示,该药最早于2017年12月在美国获批用于2型糖尿病,商品名Ozempic,为注射剂型。此后,诺和诺德又开发了司美格鲁肽的口服片剂,并于2019年9月获FDA批准上市,商品名Rybelsus。其通过在片剂中加入远超过药物剂量的Salcaprozate sodium(SNAC),增加局部pH来保护司美格鲁肽免受蛋白酶降解,并主要通过细胞内途径促进其在胃上皮层的吸收,成为第一个也是唯一一个可口服的GLP-1类似物。
但司美格鲁肽真正引领GLP-1药物走向疯狂的是其减重品牌Wegovy在市场上的流行。该药最早于2021年6月获美国FDA批准用于治疗普通肥胖患者。
此后,司美格鲁肽销售额迅速在2022年跨过百亿美元,2024年达到销售额293亿美元。
然而,正当司美格鲁肽即将登顶“药王”之际,礼来再次后发制胜,重磅推出GIPR/GLP-1R双重激动剂Tirzepatide(替尔泊肽)。
该药于2022年5月首次在美国获批上市,用于治疗成人2型糖尿病,商品名:Mounjaro,2023年11月获批减肥适应症,商品名Zepbound。
自上市以来,替尔泊肽放量速度令市场震惊,成为有史以来爬坡放量速度最快的药物。今年第二季度该药销售额85.8亿美元,追平司美格鲁肽。更为关键的是,替尔泊肽同比增幅高达68%,环比Q1增速亦高达39%,大幅领先于司美格鲁肽近乎停滞的增长。因此,替尔泊肽已成为今年“药王”最有力的竞争者。

图1 司美格鲁肽/替尔泊肽销售情况(亿美元)
资料来源:根据公开资料整理
注:司美格鲁肽销售额按照当年平均汇率计算
但是值得注意的是,GLP-1药物整体市场增长已放缓。据礼来资料,GLP-1药物美国市场第二季度同比增长41%,但环比第一季度仅增长了13%。礼来市场份额提升至57.0%,较上季度增加3.8个百分点。
为应对竞争,诺和诺德与CVS达成合作,从今年7月1日起,将Wegovy列为首选GLP-1类药物。礼来通过LillyDirect平台推出小剂量12.5毫克和15.0毫克单剂量Zepbound安瓿,以低价换市场。未来,谁能坐稳药王宝座,或许还在于新适应症的拓展,让我们拭目以待。
02
艾伯维夺回“自免药王”
除GLP-1领域外,自免领域同样上演着后来者居上的故事。Skyrizi和Dupixent强劲表现,展开自免领域药王争夺战。
在修美乐专利到期后,2024年赛诺菲和再生元的IL-4R抗体Dupixent(度普利尤单抗)登顶“自免药王”。
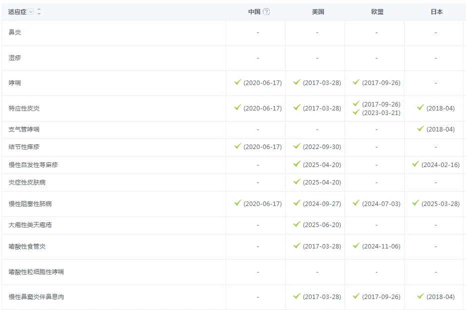
该药已斩获特应性皮炎、湿疹、慢性阻塞性肺病、支气管哮喘、大疱性类天疱疮、慢性自发性荨麻疹、哮喘、鼻炎、结节性痒疹、嗜酸性食管炎、慢性鼻窦炎伴鼻息肉、炎症性皮肤病等众多皮肤、呼吸系统自身免疫性疾病适应症。

图2 Dupixent获批适应症情况
图片来源:药智数据
Dupixent在2024年销售额达到141.5亿美元。持续受益于适应症拓展和市场需求,该药今年继续保持着20%以上同比增速,Q2销售额43.45亿美元。
但艾伯维的抗IL-23单抗Skyrizi(利生奇珠单抗)表现更为亮眼:2025Q2销售额同比劲增62%,达到44.23亿美元,成功超过Dupixent成为自免领域新的“药王”。
该药相比于Dupixent,获批适应症更集中,但包揽银屑病、克罗恩病、溃疡性结肠炎等重磅适应症。

图3 Skyrizi获批适应症情况
图片来源:药智数据
而且,艾伯维另一款自免新星Rinvoq(JAK1抑制剂)同样处于高速增长之中,2025Q2销售额20.28亿美元。Skyrizi和Rinvoq合计收入已超过Humira(修美乐)巅峰时期,助力艾伯维成功夺回自免领域领导地位。
03
半数药物即将面临专利悬崖
尽管TOP10榜单中所有产品都处于增长中,但半数产品将在未来三年内面临专利悬崖。
诺和诺德的司美格鲁肽在中国和印度的专利将于2026年到期,国内已有6家药企提交司美格鲁肽的生物类似药或改良型新药的上市申请。
默沙东的PD-1单抗Keytruda(K药)稳中有进,作为肿瘤药王,其2025Q2销售额79.56亿美元,同比增长9%,展现其在核心适应症上的持续韧性。然而,Keytruda的关键专利将于2028年到期。默沙东通过开发K药的皮下注射剂、联合疗法以及布局PD-1双抗、ADC等下一代免疫疗法来巩固其在肿瘤领域的地位。
BMS的Opdivo在Q2销售额25.6亿美元,同比增长7%。同为PD-1单抗,该药也将在2028年面临专利悬崖。
强生的Darzalex在Q2销售额35.39亿美元,同比增长23%,表现优于平均,但其在美国、欧洲和日本的组合物专利将于2026年3月到期,目前已有生物类似药在研发当中。
抗凝药Eliquis(阿哌沙班)是小分子药物的佼佼者,其Q2销售额36.8亿美元,同比增长8%。但其核心专利将于2026年到期,多个仿制药商已蓄势待发。
HIV药物Biktarvy在Q2销售额35.3亿美元,同比增长9%,保持稳健增长。而且在专利方面,Biktarvy目前处境较为乐观。其关键专利保护将持续到2033年,在未来几年内,仿制药难以对其构成威胁。
囊性纤维化药物Trikafta/Kaftrio在Q2销售额25.511亿美元,同比增长4%,反映其市场趋于饱和,其销量已接近天花板。
2025年第二季度,肥胖/糖尿病赛道热度不减,礼来替尔泊肽表现再超预期。艾伯维Skyrizi领衔的自免领域异军突起,成为增长亮点。展望未来,礼来能否巩固优势、诺和诺德如何反击、以及自免领域能否持续高增长,我们将持续观察。
产业资讯
研发客
2026-04-03
665
产业资讯
氨基观察
2026-04-15
10
产业资讯
深蓝观
2026-04-15
33