会员动态
Insight数据库
2025-07-19
2617
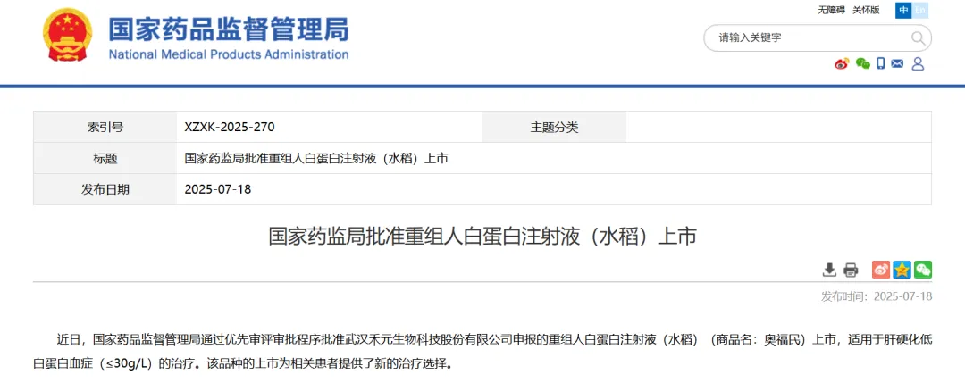
7 月 18 日,NMPA 官网显示,禾元生物申报的植物源重组人血清白蛋白(HY1001)获批上市,用于肝硬化低白蛋白血症(≤30g/L)的治疗。此前已于 2024 年 8 月被 CDE 纳入优先审评。*如需获取 2025 年更多新药获批情报,扫描文末二维码添加小音,即可免费下载。

截图来源:NMPA 官网
目前,临床使用的人血清白蛋白药物均来自人类血浆的分离提取,存在资源短缺和病原体传播的风险。据统公开资料显示,2020 年国内人血清白蛋白治疗药物市场规模已高达 258 亿元人民币,且进口依赖严重,进口产品长期占据 60% 以上的市场,人血清白蛋白仍存在较大供需缺口。
HY1001 是禾元生物首个研发的重磅产品,利用水稻胚乳细胞表达,经提取、纯化的重组人血清白蛋白产品,成功解决了重组人血清白蛋白的纯度、规模化和成本问题,更实现了从源头上杜绝病毒传播的风险,确保了血液制品的安全性。

截图来源:企业官微
该项目还获得了国家「重大新药创制」科技重大专项的支持,专家组评价「该技术是一项原始创新技术,具有广泛的应用前景,为医药生产开辟了一条新途径」。
此次 HY1001 的获批,标志着禾元生物在全球首创的植物重组蛋白质药物领域取得了显著进展,有望解决我国人血清白蛋白长期依赖进口的局面。
2025 年 6 月,禾元生物一项关于 HY1001 的临床研究在《Gut》上发表。这是一项多中心、随机双盲、阳性对照(基立福的 Albutein)的 II 期研究,按照中国 CDE 和美国 FDA 共同认可的临床方案进行,对 220 例肝硬化腹水患者进行静脉注射给药,每日剂量高达 20g,连续注射最长 14 天。
研究结果显示,HY1001 能显著提升白蛋白水平,14 天内血清白蛋白浓度达到 35g/L 的受试者比例非劣效于阳性对照组,且升高胶体渗透压、达标中位时间、血清白蛋白变化值、体重腹围改善等与阳性对照无统计学差异;未发生药物相关严重不良反应,安全性良好;没有产生有临床意义的抗药抗体和抗 HCP 抗体,宿主蛋白免疫原性低。
2024 年 11 月,禾元生物宣布 HY1001 在肝硬化低白蛋白血症患者中的 III 期头对头血浆来源人血清白蛋白的临床(CTR20230244)达到研究终点。数据显示,HY1001 的疗效不劣于对照人血清白蛋白,且安全性良好。
2024 年 9 月,贝达药业和禾元生物就 HY1001 签署药品区域经销协议。贝达药业获得在约定区域内独家经销HY1001 的权利。

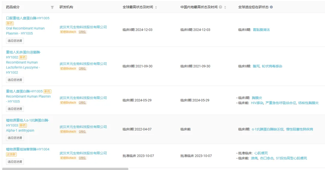
截图来源:Insight 数据库
Insight 数据库显示,除了 HY1001,禾元生物还有 5 款产品进入临床阶段(含批准临床)。
重组人乳铁蛋白溶菌酶-HY1002 是一款针对儿童轮状病毒引起腹泻的一款广谱抗病毒和细菌感染的口服复合制剂,主要成分来自母乳中的主要成分,具有相容好和安全性高的特点,对婴幼儿更加安全。目前已完成国内 II 期临床试验。
HY1003 是一款植物源重组 α-1 抗胰蛋白酶,也是禾元生物获得的首个 FDA 孤儿药认定品种。按照市场容量的 30% 计,预计该药将拥有超 30 亿美元的美国市场和约 1000 亿美元的全球市场。目前已完成在美国开展的 I 期临床试验。
植物源重组瑞替普酶-HY1004 是禾元生物研发的第三代溶栓药物,可以使纤维蛋白溶解酶原激活为有活性的纤溶蛋白溶解酶,以降解血栓中的纤维蛋白,发挥溶栓作用。该药适用于成人由冠状动脉梗塞引起的急性心肌梗塞的溶栓疗法,能够改善心肌梗塞后的心室功能。
口服重组人糜蛋白酶冻干粉-HY1005 是从基因工程水稻稻谷中提取和纯化重组人糜蛋白酶原,通过激活获得具有生物活性的重组人糜蛋白酶,适应症为用于胃镜检查时溶解去除胃内黏液。
重组人糜蛋白酶-HY1005 是国际上首个重组人糜蛋白酶药物,与天然人糜蛋白酶具有相同的生物活性,临床默示许可适应症为胸膜炎。目前该药已完成针对胸膜炎适应症的 I 期临床研究单次给药阶段的全部受试者入组。

截图来源:Insight 数据库
会员动态
药智网
2026-04-02
206
会员动态
招财小黄鸭
2026-03-28
416
会员动态
中国医药创新促进会
2026-03-26
386